Apple tager patent på ‘brudsikker iPhone’

I en nær fremtid kan din iPhone være så brudsikker, at der ikke er behov for at bruge cover.

Apple har forsket i, hvordan man laver et iPhone-chassis, der bibeholder det gode design, men er langt mere brudsikker. Virksomheden har fået patent på noget, de kalder Spatial Composites, der føjer metal eller keramik til telefonens chassis. Det skriver Apple Insider.

I patentet beskriver Apple udfordringerne ved at lave en brudsikker telefon. Metal kan gøre enheden ekstremt holdbar, men kan forstyrre de radiosignaler, enheden sender og modtager. De signaler kan gå direkte gennem keramik, men keramik er et skrøbeligt materiale. Plastik er holdbart, men bøjeligt og tager nemt mod ridser.

ARTIKLEN FORTSÆTTER EFTER ANNONCEN

 

Apples ide er at kombinere forskellige materialer i chassiset, for at gøre det brudsikker. Men det er naturligvis ikke simpelt, så patentet handler om, hvordan materialerne skal blandes.

brudsikker
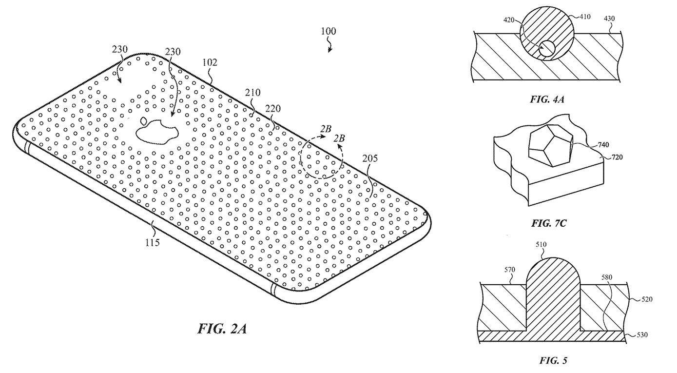
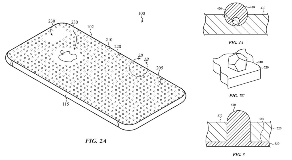
Detalje fra patentet viser rækker af “slidbestandige” elementer og eksempler på disse.

De arbejder med såkaldt “slidbestadige elementer”, der skal indlejres i chassiset. Apples patent inkluderer tegninger, der viser forskellige former for slidbestandige elementer, hver med forskellige fordele, men det samme overordnede mål. Det inkluderer også en tegning, der viser disse medlemmer spredt over bagsiden af en iPhone.

Tanken er, at forskellige typer af disse elementer skal støbes ind, forskellige steder i chassiset, alt efter hvor den eksakte kombination gør størst nytte. Til forskel fra illustrationen vil der være adskillige flere af disse elementer; afstanden mellem dem skal kun være mellem 10 og 100 mikron.

Patentet er krediteret til tre opfindere, herunder Christopher D. Preset. Han har tidligere arbejdet med brugen af glaskeramiske komponenter i et MagSafe-system, der transmitterer data såvel som strøm.

ARTIKLEN FORTSÆTTER EFTER ANNONCEN

 

Kilde
Apple Insider
Back to top button

Vi lever af annoncer

Hejsa kære læser. Vi kan se, at du bruger en Adblocker. Det er vi superkede af. Som et lille medie er vi afhængige af annoncekroner for at kunne levere gratis indhold til dig. Vi vil derfor bede dig om at lukke for din AdBlocker eller i det mindste give vores site lov til at vise bannere, hvis du gerne vil læse vores indhold. Med venlig hilsen iNPUT.